知名房企巨头上海总部大楼被6折甩卖,“坐拥黄浦江一线江景”!公司3年巨亏400亿元,到期未付债务超650亿元,创始人被限制高消费
据阿里资产拍卖平台,近日,阳光城总部滨江国际广场1号楼拍卖成交。本次拍卖起始价为11.3亿元,此次拍卖经过37轮竞拍,最终成交价格为13.1亿元。
阿里资产处置平台显示,滨江国际广场1号楼原名为“阳光控股大厦”,坐落于上海市杨浦区黄浦江畔,毗邻杨树浦路和东方渔人码头,拥有一线黄浦江景色。

成交价仅为首次起拍价6成
此前曾4次流拍
值得注意的是,相较于首次起拍价,滨江国际广场1号楼此次的成交价格仅为当初的六成。据悉,滨江国际广场1号楼此前曾经被拍卖过4次。2024年1月,该写字楼首次被拍卖,起拍价为21亿元,因无人出价而流拍。2024年2月、2025年7月、2025年8月,该写字楼3次被拍卖,起拍价分别为19.81亿元、14.57亿元、13.12亿元,同样因无人参与以流拍作为结束。
公开信息显示,滨江国际广场1号楼原为闽系房企阳光城集团总部,2017年迁入并更名为“阳光控股大厦”,坐落于上海市杨浦区黄浦江畔,拥有一线黄浦江景色。
据阿里资产拍卖平台,该写字楼被阳光城集团抵押,是《中建投信托-阳光控股大厦单一资金信托贷款合同》项下的债务提供抵押担保,被担保债权本金总额为9.33亿元。由于阳光城不能偿还债务,债权方将滨江国际广场1号楼拍卖。
据竞买公告,上述物业资产的处置方是华泰证券(上海)资产管理有限公司,该公司是“华泰佳越-阳光控股大厦资产支持专项计划”的管理人;物业资产标的所涉及的债务人为上海润渝置业有限公司和上海臻德房地产开发有限公司,所涉债权初始金额为9.33亿元;而其债权人则为中建投信托股份有限公司。

展开全文
根据天眼查,债务人公司上海润渝置业有限公司原本的股东为上海臻德房地产开发有限公司,于2019年变更为上海馨雅物业管理有限公司(由中建投信托股份有限公司100%持股)。而上海臻德房地产开发有限公司原本的股东为阳光城集团上海置业有限公司,于2019年变更为青岛华翊道悠投资管理有限公司,其背后的控股股东为福州悦萌贸易有限公司。
与此同时,据阿里资产拍卖平台,上海润渝置业有限公司向阳光城及其相关公司发起诉讼,要求后者支付2022年1月1日至2023年7月8日的租金、物业费、停车费,合计1.81亿元。目前,法院判决阳光城及其相关公司支付租金及违约金,并归还返还租赁房屋。
债务违约后,阳光城曾积极开展自救。为疏解债务压力,阳光城将多处优质资产处置变现,包括变卖所持兴业银行股权、转让万物云部分股权等。
据财联社报道,阳光城及其母公司还转让包括佛山陈村、浙江永康、四川宜宾、上海臻百利、希尔顿酒店等20余项优质资产,回笼资金均用于偿还债务,累计还债规模超过450亿元。
曾是中国房企销售TOP15
当前到期未付债务超650亿元
阳光城在资本市场的起点始于2002年。彼时,时年34岁的公司创始人林腾蛟选择借壳“石狮新发”,完成了上市。
不过,阳光城的扩张之路自2010年才开启,借全国化布局,实现了从一家规模仅十几亿的区域房企向头部房企的疾速跃升。
2012年,阳光城将总部迁至上海,全面启动全国化发展,一年抢入7块黄金地块。2015年,其销售额就达到了300亿元,跻身行业28位。
2016年阳光城定下了“3+1+X”的扩张策略,开始向二、三线城市进军,然后又通过招拍挂、收并购、一级整理、三旧改造、产城融合等多方式获取优质土地,土储规模不断增长。凭借着这一激进的运作手法,阳光城在2016-2018年连续3年保持着50%以上的销售额增速,2018年实现销售额1628.56亿元,跻身千亿房企阵营。2019年,阳光城继续保持29.58%的增速,全年销售额达2110.31亿元,迈入2000亿级别,跻身中国房企销售额TOP15。
不过,“狂飙”突进不仅为阳光城带来了千亿业绩规模,也带来了高负债、资金吃紧的隐患。2018年,阳光城的总负债超过了2000亿元,截至2022年末,这一总负债规模达到了2746亿元,其中流动负债高达2530亿元,短期借款为40.94亿元,应付票据及应付账款为290.5亿元,一年内到期的非流动负债为542.1亿元,三者合计达到了873.54亿元。而同期,阳光城的货币资金仅为83.49亿元。
2022年起,阳光城陷入巨额亏损。2022年~2024年,阳光城净利润分别为-125.5亿元、-80.69亿元、-195.6亿元。
经营业绩不佳,阳光城股价也持续低迷。2023年8月4日,深交所公告,阳光城股票在2023年5月15日至6月9日期间,连续20个交易日的每日收盘价均低于1元/股,因触及交易类强制退市情形,深交所作出终止上市决定。8月16日,阳光城被摘牌,正式退市,目前股票在新三板交易。
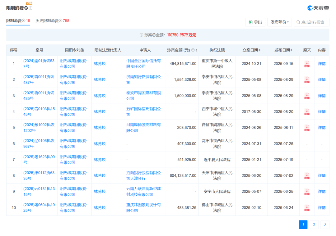
2024年3月,阳光城创始人、福建百亿富豪林腾蛟卸任法定代表人、董事长,朱荣斌卸任总经理,由施志敏担任法定代表人、董事长、总经理。同时,公司董事、监事均发生变更。林腾蛟曾以170亿元的身家位列《2020胡润全球房地产富豪榜》第119位,如今已被限制高消费,名下目前仍有19条限消令,涉案总金额超过10亿元。

目前,阳光城仍深陷债务泥潭。截至2024年年末,阳光城资产负债率为109.01%;截至今年6月底,阳光城资产负债率增至111.68%。
据阳光城公告,截至今年9月25日,阳光城已到期未支付的债务(包含金融机构借款、合作方款项等)本金合计金额657.34亿元;公开市场方面,境外公开市场债券未按期支付本金累计22.44亿美元,境内公开市场债券未按期支付本金累计164.63亿元。

阳光城公告表示,公司为化解债务风险,正全力协调各方积极筹措资金,商讨多种方式解决相关问题。同时,公司将在地方政府和金融监管机构的大力支持、积极协调下,制定短中长期综合化解方案,积极解决当前问题。
(声明:文章内容 和数据仅供参考,不构成投资建议。投资者据此操作,风险自担。)
编辑|||段炼 易启江
校对|陈星
每日经济新闻综合自阿里资产拍卖平台、第一财经、深圳商报、每经网、公开资料等
每日经济新闻









评论